Hyödyllisyysmallista on moneksi

Kun hyödyllisyysmallilakia yli 30 vuotta sitten suunniteltiin, hyödyllisyysmallista toivottiin apua ainakin seuraaviin tilanteisiin:

  • ratkaisu on keksinnöllinen, mutta ei yllä patentoitavuuden tasolle,
  • pikkuparannus, jolle lyhyen käyttöajan vuoksi patentti olisi liian kallis ratkaisu,
  • mallisuojan tueksi,
  • patenttisuojan tueksi.

Lähes kolmikymmenvuotiselta IPR-uraltani tulee mieleeni esimerkkejä kaikista näistä tilanteista – ja ekstrana parista muustakin. Niistä tarkemmin seuraavassa.

Keksinnöllinen, mutta ei patentoitava

Joskus tuotteen rakenne on niin yksinkertainen, että patentin vaatima "olennainen ero" tunnettuun tuntuu liian isolta vaatimukselta. Ilmalämpöpumpun alapuolelle asetettava vedenohjauskaukalo tuntui tällaiselta. Kun kaukalo oli kuitenkin rakenteeltaan uusi ja sen suunnitteluun oli satsattu, oli se luontevaa suojata hyödyllisyysmallilla.

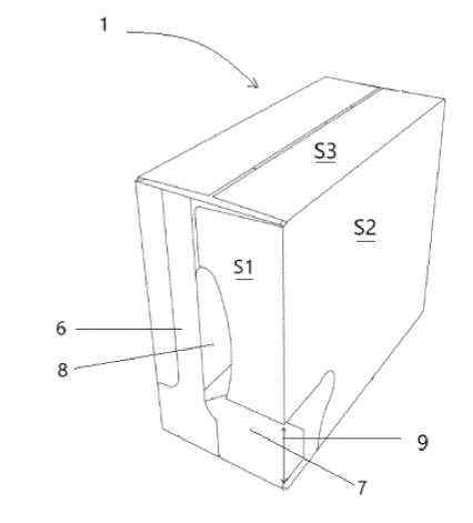
Kuvassa hyödyllisyysmalli numero 8841 ilmalämpöpumpun vedenohjauskaukalo

Ilmalämpöpumpun vedenohjauskaukalo, hyödyllisyysmalli nro 8841Avautuu uuteen välilehteen

Joskus oma käsitykseni on, että keksintö on ilman muuta patentin arvoinen, mutta sitten PRH:n tutkimuksessa paljastuukin samankaltaisia ratkaisuja. Uutuusvaatimus voi vielä täyttyä, mutta keksinnöllisyysvaatimus ei.

Jos siis keksinnön todetaan kyllä olevan uusi, mutta ei patenttilain vaatimalla tavalla keksinnöllinen, saatan suositella hakemuksen muuntamista patenttihakemuksesta hyödyllisyysmalliksi. Näin tehtiin liittyen keksintöön rakennuksen energiankulutuksen seuraamiseksi.

Kuvassa hyödyllisyysmalli numero 13018 järjestelmä rakennuksen energiankulutuksen seurantaan

Järjestelmä rakennuksen energiankulutuksen seurantaan, hyödyllisyysmalli nro 13018Avautuu uuteen välilehteen

Pikkuparannus, jolla lyhyt käyttöaika

Pahvilaatikoihin tehdään jatkuvasti pikkuparannuksia. Tarve parannukselle voi tulla esimerkiksi uudesta kuluttajatuotteesta, jolle esillepanoa varten tarvitaan uusi laatikko. Kuluttajatuotteelle on nykyään varsin tyypillistä lyhyt elinkaari – niinpä sitä varten suunnitellun laatikon elinkaari voi myös jäädä lyhyeksi. Tällöin hyödyllisyysmallin maksimissaan 10 vuoden suoja-aika riittää mainiosti.

Kuvassa hyödyllisyysmalli numero 12621 tuotepakkaus

Tuotepakkaus, hyödyllisyysmalli nro 12621Avautuu uuteen välilehteen

Mallisuojan tueksi

Pahvilaatikot ovat erinomainen esimerkki myös siitä, kuinka tuotteen voi suojata kahdella eri suojamuodolla. Mallisuoja suojaa ulkomuodon ja hyödyllisyysmalli tuotteessa olevan teknisen ratkaisun. Korona-aikana verkkokauppatilausten määrä kasvoi, mistä seurasi tarve kehittää parempia kuljetuslaatikoita. Alla oleva pakkauslaatikko suojattiin sekä hyödyllisyysmallilla että mallisuojalla.

Kuvassa hyödyllisyysmalli numero 13046 pakkauslaatikko

Pakkauslaatikko, hyödyllisyysmalli nro 13046Avautuu uuteen välilehteen

Patenttisuojan tueksi

Keksintö voidaan suojata sekä patentilla että hyödyllisyysmallilla. Hyödyllisyysmallin rekisteröinnillä saadaan nopeasti suoja, jota voi puolustaa oikeudessa. Patentti taas varmistaa, että suoja voidaan pitää voimassa pitkään, maksimissaan 20 vuotta. Yhteinen suoja myös kestää mitätöintiyrityksiä paremmin.

Kuvassa hyödyllisyysmalli numero 11688 sukka potilaskäyttöä varten

Sukka potilaskäyttöä varten, hyödyllisyysmalli nro 11688Avautuu uuteen välilehteen

Harrastuksena / omaksi iloksi

Aina ei hyödyllisyysmallin hakemisen taustalla tarvitse olla isoa liiketoimintaintressiä. Kohtuuhintaisen hyödyllisyysmallin voi hakea, vaikka muistoksi työurasta tekniikan parissa. Todistus viranomaisen rekisteröimästä suojaoikeudesta on hieno koriste olohuoneen seinällä.

Kuvassa hyödyllisyysmalli numero 12249 liitospultti ja dynaamisesti kuormitettu liitos

Liitospultti ja dynaamisesti kuormitettu liitos, hyödyllisyysmalli nro 12249Avautuu uuteen välilehteen

Toimintavapaus julkaisemalla

Joskus hyödyllisyysmallia ei tarvita niinkään keksinnön suojaamiseksi muiden käytöltä, vaan hyödyllisyysmalli haetaan oman toimintavapauden varmistamiseksi. Keksintö siis julkaistaan hyödyllisyysmallina, jolloin kukaan muu ei voi vastaavaa tuotetta suojata. Muuten – jo hakemuksenkin voi pyytää julkiseksi. Vaikka hakemus ei johtaisi rekisteröityyn hyödyllisyysmalliin, julkaisu on kuitenkin täysin pätevä, vaikka sitä ei ehkä aina ole ihan helppo tietokannoista löytää…

Kuvassa Ossi Huhtanen
Ossi Huh­ta­nen, Kols­ter Oy Ab­Part­ner, Eu­ro­pean Pa­tent At­tor­ney (kuva Kols­ter Oy Ab)



Blogin kirjoittaja Ossi Huhtanen on työskennellyt IPR-alalla vuodesta 1994 lähtien.

Ossilla on kokemusta niin keksintöjen suojaamisesta kuin myös väite ja loukkausasioista. Lisäksi hänellä on monipuolista kokemusta asiakkaan IPR-prosessien kehittämisestä, kuten IPR-strategioista, ohjesäännöistä sekä IPR-kouluttamisesta.

Ossi myös osallistuu aktiivisesti alan kansainvälisten verkostojen toimintaan.






tietoa_prhsta