Uutuustutkimus
Aamutoimiautomaatti koostuu monesta laitteesta, joten uutuustutkimuksessakin jouduttiin käymään läpi useita eri tekniikan aloja maailmanlaajuisia patenttitietokantoja tutkimalla.
Viitejulkaisut D1-D5
Viraston tekemässä uutuustutkimuksessa ovat tulleet esille seuraavat julkaisut:
- D1: US 2018099114Avautuu uuteen välilehteen A1 (WALSKI DARRYL [US]) 12 April 2018 (12.04.2018)
- D2: JP 2016153969Avautuu uuteen välilehteen A (AISIN SEIKI) 25 August 2016 (25.08.2016)
- D3: US 6152733Avautuu uuteen välilehteen A (HEGEMANN KENNETH J US] et al.) 28 November 2000 (28.11.2000)
- D4: US 2002155069Avautuu uuteen välilehteen A1 (PRUCHE FRANCIS [FR] et al.) 24 October 2002 (24.10.2002)
- D5: JP H0810291Avautuu uuteen välilehteen A (FUJITSU LTD) 16 January 1996 (16.01.1996)
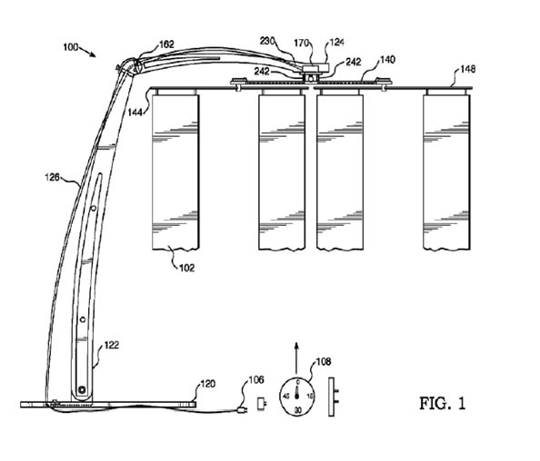
D1 Höyhenherätyslaite
US 2018099114 A1 Tactile stimulating device
“Käyttäjä antaa stimuloivien materiaalien (kuten esimerkiksi höyhenten) hyväillä tai harjata ihoa, mikä tarjoaa miellyttävän kutituksen."
|
|
D2 Tärinäherätysistuin
JP 2016153969 A Stimulus application device
"Värähtelystimulaatiota käytetään uneliaisuuden tai väsymyksen estämiseksi, eli toisin sanoen heräämisvaikutuksen ylläpitämiseksi."
|
|
D3 Hampaiden pesulaite
US 6152733 A Automated hands free oral cleansing device with bite block and computer control
"Robottipuhdistuspään sisältävä puhdistuslaite hampaiden ja ikenien puhdistamista, harjaamista, hierontaa ja huuhtelua varten."
|
|
D4 Meikkauslaite
US 2002155069 A1 Cosmetic treatment and device
"Liikkuva hoito- tai meikkituotteiden levityspää, joka käsittää esimerkiksi huiskan tai harjan, ja jonka toimintaa valvotaan automaattisella ohjauksella."
|
|
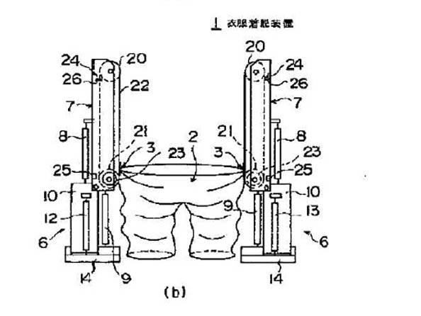
D5 Riisumis- ja pukeutumislaite
JP H0810291 A Dressing/undressing device
"Laitteessa on vaatepidike, joka tarttuu vaatteisiin ja pitää niistä kiinni ilman tarvetta käyttää omia käsiä."
|
|
|
|
Lopulta tutkijainsinööri löytää lähes kaikille aamutoimiautomaatin laitteille hämmentävän hyvän vastineen todellisista patenttijulkaisuista.
PatinfoAvautuu uuteen välilehteen - tiedot suomalaisista patenteista ja hyödyllisyysmalleista
EspacenetAvautuu uuteen välilehteen - patenttijulkaisuja kaikkialta maailmasta
Linkit ylläoleviin julkaisuihin - espacenetista